TR
EN
MEMBER LOGIN
Toggle navigation
ANASAYFA
KÜME HAKKINDA
ARUS Hakkında
Başkanın Mesajı
Onursal Başkan
ARUS Yönetim Kurulu
Misyon & Vizyon
Basında ARUS
ARUS ve Milli Sanayi Tanıtım Videoları
Kurumsal Kimlik
ARUS FİRMALARI
PROJELER
HABERLER
DOKÜMANLAR
ÜYELİK
İLETİŞİM
Acarlar Vagon
+90 272 353 3334
+90 272 353 34 00
TCDD Gar Sahası Meteoroloji Arkası No:1 Dinar / Afyonkarahisar
acarlar@acarlarvagon.com.tr
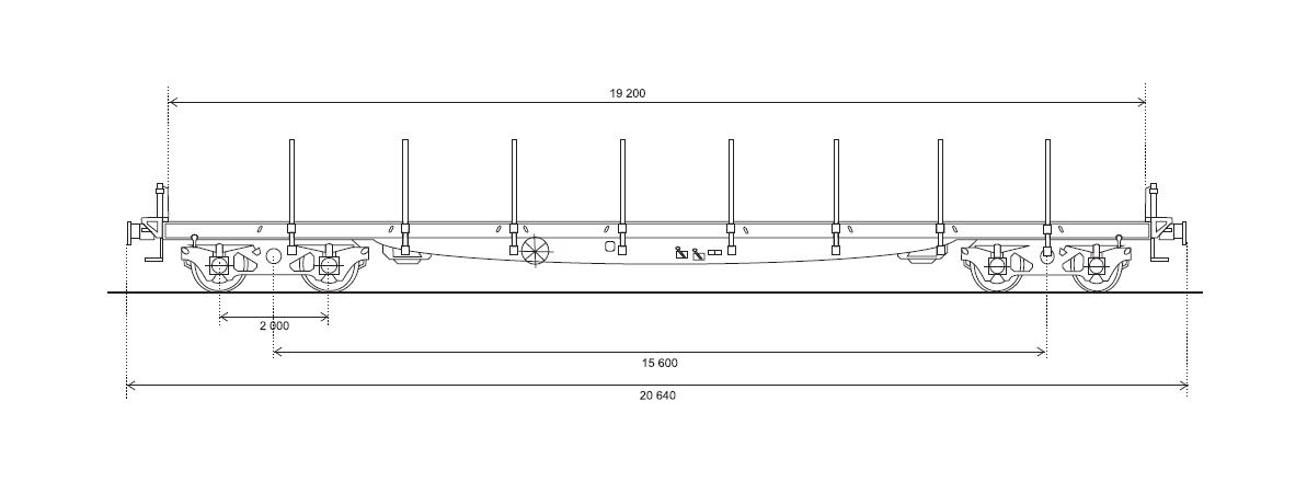
Rils Tipi Vagon
Other products
Sg Tipi Vagon
Sarnıç Vagon
RGS Tipi Vagon
Laers Tipi Vagon
Boji
Ks Tipi Vagon